| 
 
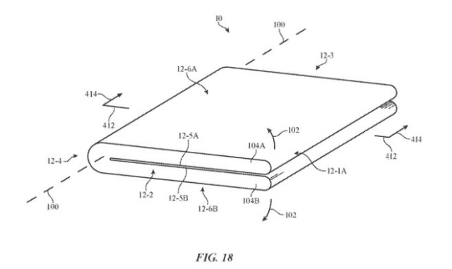
 According to a Weibo-based leaker, Fixed Focus Digital, who claims reliable sources in Apple’s supply chain, the company is stockpiling components for its first foldable iPhone ahead of a planned launch next year. The device, tentatively dubbed the “iPhone Fold,” will reportedly feature advanced parts such as foldable OLED displays, titanium frames, and sophisticated hinge mechanisms made from multiple materials. 
   Support MacDailyNews at no extra cost to you by using this link to shop at Amazon. The post Apple stockpiles components for ‘iPhone Fold’ appeared first on MacDailyNews. Invite your friends and earn rewardsIf you enjoy MacDailyNews, share it with your friends and earn rewards when they subscribe. | 
Friday, October 31, 2025
Apple stockpiles components for ‘iPhone Fold’
Subscribe to:
Post Comments (Atom)
Apple shares hit new all-time intraday high
In Nasdaq trading today, shares of Apple Inc. ͏ ͏ ͏ ͏ ͏ ͏ ͏ ͏ ͏ ͏ ͏ ͏ ͏ ͏ ...
- 
Substack is covering the cost of your first paid month of MacDailyNews by MacDailyNews. ͏ ͏ ͏ ͏ ͏ ͏ ͏ ͏ ...
- 
Apple, aiming push more urgently into the smart home market, is said to be nearing the launch of a new product category: a wall-mounted disp...
- 
Apple TV+ has signed a new multi-year, first-look feature film deal with The North Road Company’s Chernin Entertainment, the flagship… ͏ ...





 
No comments:
Post a Comment