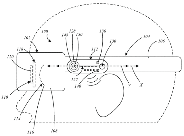
Apple is scrapping plans for a budget-friendly, lighter Vision headset, pivoting to smart glasses instead. This shift indicates Apple sees the Vision Pro’s fully enclosed headset design as unsuitable for mass-market appeal in the near term (duh). Mark Gurman for Bloomberg News:
Meta’s glasses are hardly smart, nor are they a threat to Apple. There is no substitute for Apple’s vast ecosystem. As soon as Apple releases its first pair of smart glasses it will quickly become that nascent market’s leader. – MacDailyNews, October 2, 2025 Support MacDailyNews at no extra cost to you by using this link to shop at Amazon. The post Apple pivots from Vision Pro to smart glasses appeared first on MacDailyNews. You're currently a free subscriber to MacDailyNews. For the full experience, upgrade your subscription. |
Monday, October 13, 2025
Apple pivots from Vision Pro to smart glasses
Subscribe to:
Post Comments (Atom)
Apple honors Dr. Martin Luther King Jr.
Apple is honoring Dr. ͏ ͏ ͏ ͏ ͏ ͏ ͏ ͏ ͏ ͏ ͏ ͏ ͏ ͏ ͏ ͏ ͏ ...
-
Apple, aiming push more urgently into the smart home market, is said to be nearing the launch of a new product category: a wall-mounted disp...
-
Substack is covering the cost of your first paid month of MacDailyNews by MacDailyNews. ͏ ͏ ͏ ͏ ͏ ͏ ͏ ͏ ...
-
Thank you for reading MacDailyNews. As a token of our appreciation, we're offering you a limited-time offer of 20% off a paid subscript...


No comments:
Post a Comment