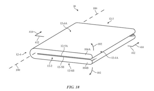
General Interface Solution (GIS) has secured an exclusive role in backend processing for the Ultra-Thin Glass (UTG) in Apple’s foldable iPhone and iPad, with contributions starting in 2026, per TF International Securities analyst Ming-Chi Kuo. GIS will also remain the sole lamination supplier for Vision Air (the budget-friendly Vision Pro) and replace the current vendor as the exclusive supplier of Pancake lenses. This shift strengthens vertical integration and is expected to boost profits, with this business line contributing from 2027.
Apple wasn’t first with fingerprint recognition, they were the first to do it right with Touch ID. Apple wasn’t first with facial recognition, they were the first to do it right with Face ID. Apple wasn’t first with contactless payments, they were the first to do it right with Apple Pay. — MacDailyNews, February 27, 2019 If and when Apple debuts a foldable iPhone, they’ll be showing the world how it should be done and what to copy going forward. As usual. — MacDailyNews, February 27, 2019 As with fingerprint and facial recognition, when Apple debuts a foldable iPhone, then foldable smartphones will have been done right. — MacDailyNews, January 17, 2019 Support MacDailyNews at no extra cost to you by using this link to shop at Amazon. The post GIS lands exclusive deal to process ultra-thin glass for Apple’s game-changing foldable iPhone and iPad – Ming-Chi Kuo appeared first on MacDailyNews. You're currently a free subscriber to MacDailyNews. For the full experience, upgrade your subscription. |
Saturday, September 6, 2025
GIS lands exclusive deal to process ultra-thin glass for Apple’s game-changing foldable iPhone and iPad – Ming-Chi…
Subscribe to:
Post Comments (Atom)
Apple to appeal £1.5 billion UK ruling over ‘excessive’ App Store commissions
Apple is seeking to overturn a landmark £1.5 billion ruling by the UK’s Competition Appeal Tribunal, which found the tech giant abused its d...
-
Substack is covering the cost of your first paid month of MacDailyNews by MacDailyNews. ͏ ͏ ͏ ͏ ͏ ͏ ͏ ͏ ...
-
Apple, aiming push more urgently into the smart home market, is said to be nearing the launch of a new product category: a wall-mounted disp...
-
Thank you for reading MacDailyNews. As a token of our appreciation, we're offering you a limited-time offer of 20% off a paid subscript...


No comments:
Post a Comment