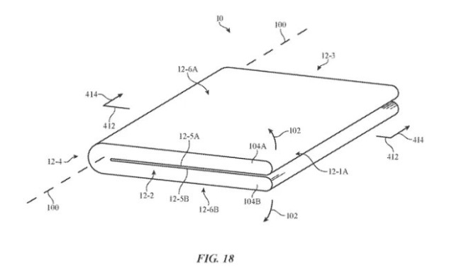
Apple has discussed with suppliers the potential for establishing a test production line for a foldable iPhone in Taiwan, aiming to mass-produce the device in India for a launch next year, according to Nikkei Asia. Lauly Li and Cheng Ting-Fang for Nikkei Asia:
Apple wasn’t first with fingerprint recognition, they were the first to do it right with Touch ID. Apple wasn’t first with facial recognition, they were the first to do it right with Face ID. Apple wasn’t first with contactless payments, they were the first to do it right with Apple Pay. — MacDailyNews, February 27, 2019 If and when Apple debuts a foldable iPhone, they’ll be showing the world how it should be done and what to copy going forward. As usual. — MacDailyNews, February 27, 2019 As with fingerprint and facial recognition, when Apple debuts a foldable iPhone, then foldable smartphones will have been done right. — MacDailyNews, January 17, 2019 Support MacDailyNews at no extra cost to you by using this link to shop at Amazon. The post Apple explores test production line for foldable iPhone in Taiwan appeared first on MacDailyNews. You're currently a free subscriber to MacDailyNews. For the full experience, upgrade your subscription. |
Thursday, September 18, 2025
Apple explores test production line for foldable iPhone in Taiwan
Subscribe to:
Post Comments (Atom)
Apple needs a killer AI Siri to fuel upgrades from older iPhones
Apple long ago missed its deadline for launching an AI-supercharged Siri, but the company now says it’s finally on track to deliver the upgr...
-
Apple, aiming push more urgently into the smart home market, is said to be nearing the launch of a new product category: a wall-mounted disp...
-
Substack is covering the cost of your first paid month of MacDailyNews by MacDailyNews. ͏ ͏ ͏ ͏ ͏ ͏ ͏ ͏ ...
-
Thank you for reading MacDailyNews. As a token of our appreciation, we're offering you a limited-time offer of 20% off a paid subscript...


No comments:
Post a Comment